前沿拓展:艺星整形祛斑费用多少
据一份11月11日上海市市场监督管理局公布的行政处罚决定书显示,上海艺星医疗美容医院有限公司(以下简称”上海艺星”)因标示虚假原价诱骗消费者被罚15万元。

行政处罚决定书显示,经查明, 上海艺星为招揽客户、 促进销售,于2021 年7月1 日至7月31日,开展名为“第四届美力女生盛典---新生代.敢美一夏”的主题促销活动, 期间存在以下两则违法行为。
上海艺星于2021年7月1日起,在上海艺星医疗美容医院一楼大堂电子显示屏的《上海艺星美容中医科价格表(三)》《上海艺星美容中医科价格表(四)》《上海艺星美容皮肤科价格表(五)》价目表中发布相关医疗美容服务价格促销信息, 标识了“原价”“合计原价”“套餐价”“组合价” 等。上述所标示的“原价”“合计原价”并非当事人在本次主题促销活动前七日内在当事人交易场所成交。有交易票据的低交易价格,也并非当事人本次促销活动前后一次交易价格,且部分医疗美容服务在本次主题促销活动之前并无交易记录。
此外,上海艺星于2021年7月1日至7月31日开展主题促销活动,并在上海艺星整形医院 Yestar、上海艺星医疗美容医院 Yestar和上海艺星整形三个微信平台上对外发布了六项医疗美容服务项目的价格促销信息:1.“脱毛(唇毛/腋毛)6次”原价2000元,美力价588元;2.“M22超光子全模式”原价3800元,美力价699元;3.“胶原小白瓶”原价3980元,美力价777元;4.“超祛斑”原价6800元,美力价2599元;5.“Fotona4D 部”原价25800元,美力价8800元;6.“热玛吉部”原价38000元,美力价12999元。记者了解到,“美力价”即为本次活动的优惠价。
然而,经上海市市场监督管理局查明,上海艺星上述六项医疗美容服务项目实际原价分别为“脱毛(唇毛/腋毛)6 次” 309元、“M22 超光子全模式”项目999.50元、“超祛斑”项目2580元、“Fotona4D部”项目4960元、“热玛吉部”项目8650元,“胶原小白瓶”项目在本次促销活动前无成交记录。

按照上海市市场监督管理局查明的实际原价估算,上海艺星所谓的医美服务促销活动,只有“M22 超光子全模式”项目比实际原价便宜一些,其他医美项目均比实际价格要高出不少。
消费者若参与此次促销活动,做“热玛吉部”要花实际原价的1.5倍,贵了4349元;“Fotona4D 部”是原价的1.77倍,多花3840元;“脱毛(唇毛/腋毛)6 次”是原价的1.9倍,比原价贵了279元。
上海市市场监督管理局认为,上海艺星的上述行为违反了《中华人民共和国价格法》第十四条第(四)项“经营者不得有下列不正当价格行为:利用虚假的或者使人误解的价格手段,诱骗消费者或者其他经营者与其进行交易”之规定,责令上海艺星处以警告,并罚款改正并罚款人民币15万元整。

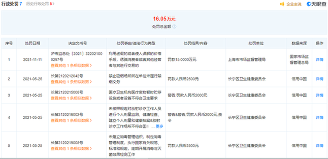
记者查询天眼查发现,上海艺星近年来有多则行政处罚记录,从2019年至今为止,处罚总金额达到16万元。



据悉,上海艺星是艺星医疗美容集团股份有限公司全额子公司,终受益人陈国兴持股35.95%,陈国雄持股30.76%,经营范围为外科,医疗美容科,麻醉科,医学检验科,医学影像科;健康信息咨询(不得从事心理咨询)等。另据上海艺星官网介绍,“艺星系”在北京、上海、杭州、武汉、成都等全国18地均设有分公司。(记者杨奇奇)
来源: 中国经济网
拓展知识:艺星整形祛斑费用多少
还有其他疑惑?想了解更多?可以点击 【在线咨询】