前沿拓展:tst庭秘密品牌防晒霜
2021年末,被誉为“微商酵母”的张庭和丈夫林瑞阳旗下上海达尔威贸易有限公司因涉嫌网络传销,被石家庄裕华区市场监督管理局立案调查,被我们曝光之后冲上了热搜,引得广大网友和媒体的关注。
TST庭秘密在微博连夜发文否认称,上海达尔威贸易有限公司是一家合法经营的公司,自成立以来始终遵从政府指导,坚持依法经营,依法纳税。并表示感谢石家庄裕华区市场监督管理局指导排查风险,会积极配合相关工作。

事实果真如此吗?日前,石家庄裕华区市场监督管理局对于TST庭秘密涉嫌传销一案还没有给出终定论,李旭反传防骗团队近日向石家庄市裕华区市场监督管理局进行核实,相关工作人员表示:该案件还在进一步调查中。
而TST庭秘密代理们则表示,在TST庭秘密代理圈已经开始流传庭秘密合法化的相关宣传。

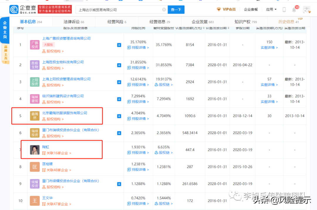
近日,李旭反传防骗团队再次接到知情人士透露,其实在2021年9月,“TST庭秘密”就因涉嫌传销被保康县市场监督管理局行政处罚过,立案信息在企查查依旧显示。

△企查查截图
上述知情人士发来一份保康县市场监督管理局行政处罚决定书。该决定书提到,2021年5月7日,保康县市场监督管理局12315申投诉(举报)中心接到匿名举报,称有人通过“TST庭秘密”手机APP采取拉人头入会员的方式从事传销活动,我局于2021年5月13日安排执法人员开展核查,2021年5月24日报襄阳市市场监督管理局、湖北省市场监督管理局备案,2021年5月25日予以立案。

经查:当事人于2013年6月起至2017年12月与上海蝶变商务信息咨询有限公司,上海玺阵商务信息咨询有限公司、上海玺宠商务信息咨询有限公司、上海报沃商务信息咨询有限公司签订合作协议,采取微商代理方式销售TST牌化妆品、生活用品,由微商代理直接从当事人处进货,然后自行销售,当事人提供广告宣传服务和培训,此阶段的经营模式符合商业惯例。
当事人因业务发展需要于2018年1月收官了上海蝶变商务信息咨询有限公司、上海玺阵商务信息咨询有限公司、上海玺宠商务信息咨询有限公司、上海报沃商务信息咨询有限公司、上海旭激商务信息咨询有限公司,并办理了股权变更登记,将上述公司变成当事人的全资子公司。自此上述子公司以当事人的名义开展经营活动。
当事人于2017年10月安排子公司上海悦导电子商务有限公司开发TST庭秘密APP,于2018年以上海悦导电子商务有限公司名义上线运营,通过微信、博客、网站等媒介宣传推广,发展会员,销售TST牌化妆品、生活用品,主要包括活酵母新生面膜乳、苹果肌面膜、胶原蛋白果味饮等产品。
在发展会员过程中,当事人制定了奖金制度,于2018年1月1日起开始实行。奖金制度中将会员分为金卡会员和小金卡会员,其中小金卡会员享受进货折扣,金卡会员除了能享受进货折扣,还能组建团队,按团队业绩享受销售折扣奖金、批零差奖金、自媒体教育推广奖金。
期间当事人于2018年12月1日、2019年9月1日、2020年1月1日、2021年4月1日对奖金制度作了四次调整,其中2018年12月1日调整时将“小金卡会员”变更为“银卡会员”,2019年9月1日调整时将“金卡会员”变更“红卡会员”,将“银卡会员”变更为“蓝卡会员”,奖金模式扔是蓝卡享受进货折扣,红卡不仅享受进货折扣,还能组建团队,按团队业绩享受折扣奖金、批零差奖金、自媒体教育推广奖金。
当事人在经营活动中对各项业务进行了分工,当事人负责提供产品,上海悦导电子商务有限公司负责TST庭秘密手机APP的开发、维护、运营,收取APP商城销售货款,上海旭激商务信息咨询有限公司、上海玺阵商务信息咨询有限公司、上海玺宠商务信息有限公司、上海碟变商务有限公司、上海报沃商务信息咨询有限公司负责为会员提供商品宣传推广、产品知识培训、组织策划会员促销活动、发放会员奖金、申报会员奖金个人所得税。
保康县市场监督管理局列举了相关证据
后,保康县市场监督管理局认为,当事人制定的奖金制度将会员区分为蓝卡会员和红卡会员,其中蓝卡会员属一般消费者,且针对蓝卡会员的奖金制度符合商业惯例,并无违法情形。但针对红卡会员执行的奖金制度,要求被发展人员发展其他人员加入,形成上下线关系,并以下线的销售业绩为依据计算和给付上线报酬的行为属《禁止传销条例》第七条第(三)项“下列行为,属于传销行为:......(三)组织者或者经营者通过发展人员,要求被发展人员发展其他人员加入,形成上下线关系,并以下线的销售业绩为依据计算和给付上线报酬,牟取非法利益的”所指情形,属传销行为。当事人作为传销行为的发起、组织、策划、管理者,构成组织策划传销违法行为。

依据《高人民法院高人民检察院公安部关于办理组织领导传销活动刑事案件适用法律若干问题的意见》“以销售商品为目的、以销售业绩为计酬依据的单纯的‘团队计酬’式传销活动,不作为犯罪处理”之规定,当事人的行为不作为犯罪处理。
而处罚决定书上还显示,上海达尔威贸易有限公司自2018年1月1日至2021年7月共发展会员7070701人,其中蓝卡(含小金卡、银卡)会员6411358人,红卡(含金卡)会员659343人,当事人2018年1月至2021年7月红卡主营业务收入为9170985058.51元,主营业务成本5645501192.36元,主营业务税金及附加37448090.18元,实际发生的有关费用为3458292223.66元,所得税费用10463642.13元,获利19279910.18元,当事人的获利应当认定为违法所得。
据知情人士跟李旭反传防骗团队透露,公司从2013年7月就开始了从事传销活动,以前的奖金制度更符合传销的构成要件,2018年以前的奖金制度分为:总代、原创家族、衍生家族、金卡(大小金卡)、银卡,为了规避传销的监管,2016年、2018年多次进行名称的改变,从2018年1月1日开始改成了红卡和蓝卡制度,其中红卡分8个等级。知情人士还提到,公司会员总量达1500余万人,其中红卡达750万人。
根据《工商行政管理行政处罚案件违法所得认定办法》即37号令第八条、第九条的规定,当事人的违法所得应该为:主营业务收入减去主营业务成本和已缴纳的税金。
依据《中华人民共和国行政处罚法》第二十八条第一款“行政实施行政处罚时,应当责令当事人改正或者限期改正违法行为”及《禁止传销条例》第二十四条第一款“有本条例第七条规定的行为,组织策划传销的,由工商行政管理部门没收非法财物,没收违法所得,处50万元以上200万元以下的罚款;构成犯罪的,依法追究刑事责任”的规定,责令当事人立即停止传销行为,并对当事人作如下行政处罚:
一、没收违法所得人民币19279910.18元
二、罚款人民币1700000.00元

TST涉嫌传销一案之所以会引起广大网友和媒体的关注,也因为张庭夫妇都是娱乐圈的人。
开创TST之后,张庭夫妇十分精明,充分利用明星应,请了一大帮明星为他们宣传打开市场。其中包括小陶虹、徐峥、林志玲、明道、曹格、胡海泉等在内的数十位知名明星艺人。其中小陶虹更是他们公司的股东之一。


△图片来源网络
各种明星使用的照片在微博上一发,就成了代理商的素材,代理们拿着明星们的照片发朋友圈:别看他们代言什么,要看他们用什么。
那宣传果,了所有代言。
而明星们的宣传博中,提到的人除了张庭之外,就有合伙人小陶虹夫妇。小陶虹也是常出现在张庭身边的,公司每次的发布会,基本都能见到陶虹和徐峥的身影。

而要说起张庭和小陶虹的关系,那还是在张庭夫妇还是演员的时候,成绩也都还不错。张庭老公林瑞阳当年还是“台湾第一小生”,琼瑶的男主角。张庭比林瑞阳小10岁,作品也更被我们所熟知,《戏说乾隆》《绝色双骄》《穿越时空的爱恋》等。
也就是在2002年,张庭与徐峥合作《穿越时空的爱恋》,次年陶虹与徐峥结婚。陶虹和张庭的关系就开始逐渐升温,近20年交往和频繁互动,让陶、张两人成为互联网上不时刷屏的好姐妹、好闺蜜。
2014年左右,小陶虹夫妇就加入了张庭的微商大军,直到TST庭秘密被曝传销之前,她都一直和张庭夫妇合作。
2020年10月,多名网友爆料,张庭带着陶虹和演员明道参观自己斥资17亿购入的、位于黄浦江边的新大楼。有消息称,张庭给陶虹一层楼做办公室。

△图片来源网络
随着短视频的兴起,在短视频平台上,两人更是经常穿着姐妹装,一起跳舞,拍各种段子,活成一种又没又有钱又开心的状态,惹得粉丝连连夸赞:这像50岁?
直到2021年11月,小陶虹退出上海淘不庭文化传媒有限公司。不再以自然人身份持股,该部分股份占比1.8911%。(上海淘不庭文化传媒有限公司成立于2020年7月,注册资本5000万人民币,其经营范围包括电视剧制作、演出经纪和食品销售等。张淑琴、林瑞阳(也就是张庭夫妇)为该公司高级管理人员。该公司曾用名为“陶不庭文化传媒”,陶虹为其股东。今年7月,公司名称变更为“淘不庭文化传媒”,“陶”字从公司名称中去掉。)
不过,李旭反传防骗团队浏览企查查时发现,小陶虹虽然不再以自然人股东身份持有1.8911%的淘不庭股份,但她持股的北京陶然服装服饰有限公司(法人魏玉琼,为淘不庭法人股东),其持股比例对应地有所上升。即小陶虹“退出”的1.8911%股份,事实上是从自然人股东持有,转为法人股东持有。
此外,除了退股的传媒有限公司,陶虹在上海达尔威贸易有限公司还留了1.93%的股份,北京陶然服装服饰有限公司也持有4.7049%股份

△企查查截图
这些年,我们在代理的宣传中,也能看到陶虹夫妇的身影
2013年由张庭、林瑞阳、陶虹、徐峥四位明星大老板共同创办TST品牌
2015年正式进入微商界,是如今娱乐圈各大明星护肤品
说0囤货、0投资、,跟着张庭、小陶虹等明星老板干,就能发大财,兼职是钱从天上来。


靠着明星的宣传应及涉嫌传销的模式,张庭夫妇这些年越发的壕气外露
除了上述提到斥资17亿购置黄浦江边整栋楼,还被爆出住的是1000多平的房子,价值2亿。2019年光是纳税,就纳了21亿。不过,据湖北保康县市场监督管理局的处罚决定书显示纳税21亿元也可能都是子午虚有的事情。
有媒体粗略估计,全国700多万代理,一个月的营业额就是153亿。疫情期间,张庭财大气粗捐了2000万,河南水灾捐了500万,也超过一般明星。
但是这些又是多少被洗脑的底层代理的血汗钱,又是多少不明真相普通人的智商税,我们不得而知。
李旭反传防骗团队原创发布
未经允许严禁转载
本文编辑 | 向阳花
拓展知识:tst庭秘密品牌防晒霜
还有其他疑惑?想了解更多?可以点击 【在线咨询】